项目概况
学生宿舍楼寝具采购项目招标项目的潜在供应商应在(辽宁政府采购网)获取招标文件,并于2024年8月8日09点30分(北京时间)前递交投标文件。
一、项目基本情况
项目编号:JH24-210000-15055
项目名称:学生宿舍楼寝具采购项目
包组编号:001
预算金额(元):3711780;
最高限价(元):3711780;
采购需求:
001-1 二联体公寓床(包含床垫、床板):1077套、国产。
★1.成品规格:≥长4500mm×宽900mm×高2100mm ,床板净尺寸≥1910*830*18mm 的双贴面实木颗粒板床板,床垫:床垫规格:≥1910mm*830mm*60mm(高),棕榈。

★2.边立柱及中立柱:用≥75mm×75mm,壁厚≥1.2mm 的L型闭合钢管型材,钢材采用高频焊接冷轧封口钢材,成型前经过防腐处理。钢管焊接要求焊接无灰渣、气孔、焊瘤;无脱焊、虚焊焊穿;精细打磨,光结平整,所有焊线打磨平整。各钢件经酸洗磷化及抛丸机打砂除油除锈脱脂处理后,高压恒温环氧树脂固体粉末静电喷涂,195-205摄氏度高温固化。喷涂均匀,表面光泽度为80%,硬度>0.4H,冲击强度4N-M,附着力>2级,漆膜厚度≥0.06m,耐腐蚀,耐擦挂,防护性能良好。床架外角为圆弧设置二条加强筋,防碰撞设计,立柱上下采用优质 PP 塑料静音内塞,稳固无晃动、无异响、安全防护,顶部静音内塞带蚊帐杆安装空位,蚊帐杆固定方式采用顶丝夹紧方式。
★3.前后床厅:用≥80mm*30mm冷轧钢管,壁厚≥1.2mm。
★4.卡式连接件:床架与床厅之间采用三孔榫接件进行紧固连接,结实稳固。冷轧钢板厚度≥1.5mm。
★5.床板支撑横梁:规格为≥30mm×20mm×1.2mm冷轧钢管,5根。
★6.立柱拉换边立柱拉换:上拉换采用≥ 80mm*30mm*1.2mm,下拉换≥50mm*25mm*1.2mm,左右边立柱连接下拉换≥50mm*25mm*1.2mm冷轧钢管,稳定牢固。
★7.床头护栏及床尾护栏:侧护栏采用≥Φ16mm×1.2mm 横撑≥2 根,床头护栏,3根≥16mm*1.2mm优质冷轧钢管制成。
★8.床厅护栏:规格尺寸≥1810mm*300mm,主体设计为圆弧形,采用≥Φ30mm*1.2mm和≥Φ16mm*1.2mm优质冷轧钢管制成,四周边框为≥30mm*15mm椭圆形管。护栏与前厅连接方式为固定焊接。全部金属表面经磷化、除污、除油、除锈等表面处理后;折角处圆滑,焊接内外无毛刺尖角,坚固耐用。
★9.走梯:基材采用钢木结构,走梯踏板采用三聚氰胺踏板(甲醛释放量≤0.124mg/m³),踏步板规格≥500mm*185mm*300mm,走梯龙骨架采用≥25mm*25mm*1.2mm厚冷轧钢管,边骨架一次切割成型,结实稳固。最下一梯有储物架。其余有储物柜,采用上翻门结构。
★10.走梯门板:冷轧钢板厚度为≥0.7mm。
★11.蚊帐杆:伸缩式直径≥16mm x0.8mm冷轧钢管制作,可根据需要随意调节升降高度,最高可调至650mm。
★12. 铺板:采用规格≥1910*830*18mm 的双贴面实木颗粒板床板,实木颗粒板甲醛释放量≤0.124mg/m³。

★13.床下组合柜中的衣柜:衣柜:衣柜高度 ≥1700mm*600mm*600mm,柜体采用≥0.6 mm厚,门板采用≥0.7mm 冷轧钢板冲压成型,采用单开外挂门设计,缓冲液压铰链,外挂锁,挂衣杆采用≥30*15*0.8mm椭圆形航空铝材。后背板冲有通风孔。全部金属采用优质环保产品环氧聚酯塑粉,经酸洗磷化后静电喷塑,喷塑涂层厚度70~80μm, 喷塑外膜的表面光滑平,无明显刺激性气味,成品表面手触摸光滑无毛刺,无漏喷及留痕,具有耐腐蚀、防水抗老化等性能。
★14.床下组合柜中的书桌架:规格:≥1350mm*600mm*950mm,桌面距地面高度为 ≥750mm ;书架高度≥950mm。基材采用钢木结构,书架立板采用≥18mm厚,其余采用≥25mm三聚氰胺板(甲醛释放量≤0.124mg/m³),桌面后方安装≥ 60mm 高挡水线,有效防止物品向后滑落。桌面下方配有1根≥30*20*1.2mm钢梁,防止桌面变形。

★15.防潮柜脚:ABS材质,消音耐磨垫。
★16.PVC封边条:采用≥1mm优质封边条。
★17.床垫:床垫规格:≥1910mm*830mm*60mm(高),和普通床尺寸配套;材质:填充物为≥20mm厚的海绵和≥40mm厚的100%天然椰棕丝,椰丝长度均匀,压制处理,一次成型。

001-2 上床下桌单体公寓床(包含床垫、床板):35套、国产。
★1.成品规格:≥长2290mm×宽900mm×高2100mm,床板净尺寸≥1910*830*18mm 的双贴面实木颗粒板床板,床垫:床垫规格:≥1910mm*830mm*60mm(高),棕榈。

★2.边立柱及中立柱:用≥75mm×75mm,壁厚≥1.2mm 的L型闭合钢管型材,钢材采用高频焊接冷轧封口钢材,成型前经过防腐处理。钢管焊接要求焊接无灰渣、气孔、焊瘤;无脱焊、虚焊焊穿;精细打磨,光结平整,所有焊线打磨平整。各钢件经酸洗磷化及抛丸机打砂除油除锈脱脂处理后,高压恒温环氧树脂固体粉末静电喷涂,195-205摄氏度高温固化。喷涂均匀,表面光泽度为80%,硬度>0.4H,冲击强度4N-M,附着力>2级,漆膜厚度≥0.06m,耐腐蚀,耐擦挂,防护性能良好,床架外角为圆弧设置二条加强筋,防碰撞设计,立柱上下采用优质 PP 塑料静音内塞,稳固无晃动、无异响、安全防护,顶部静音内塞带蚊帐杆安装空位,蚊帐杆固定方式采用顶丝夹紧方式。
★3.前后床厅:用≥80mm*30mm冷轧钢管,壁厚≥1.2mm。
★4.卡式连接件:床架与床厅之间采用三孔榫接件进行紧固连接,结实稳固。冷轧钢板厚度≥1.5mm。
★5.床板支撑横梁:规格为≥30mm×20mm×1.2mm冷轧钢管,5根。
★6.立柱拉换边立柱拉换:上拉换采用≥80mm*30mm*1.2mm,下拉换≥50mm*25mm*1.2mm,左右边立柱连接下拉换≥50mm*25mm*1.2mm冷轧钢管,稳定牢固。
★7.床头护栏及床尾护栏:3根≥16mm*1.2mm优质冷轧钢管制成。
★8.床厅护栏:规格尺寸 ≥1160mm*300mm主体设计为圆弧形,采用≥Φ30mm*1.2mm和≥Φ16mm*1.2mm优质冷轧钢管制成,四周边框为≥30mm*15mm椭圆形管。护栏与前厅连接方式为固定焊接。全部金属表面经磷化、除污、除油、除锈等表面处理后;折角处圆滑,焊接内外无毛刺尖角,坚固耐用。
★9.爬梯:深度≥290mm,爬梯外框采用≥20*40*1.2mm冷轧钢管,五步梯形式,踏步板横撑采用≥20mm冷轧钢管,壁厚:≥1.0mm,踏步板采用≥1.5mm钢板冲压成型表面带防滑凸包,爬梯与床体采用拉卯螺母及螺丝连接固定,结实稳固,爬梯下方采用≥20mm冷轧钢管与立柱连接固定。
★10.蚊帐杆:伸缩式直径≥16mm x0.8mm冷轧钢管制作,可根据需要随意调节升降高度,最高可调至650mm。
★11.铺板:采用规格≥1910*830*18mm 的双贴面实木颗粒板床板,实木颗粒板甲醛释放量≤0.124mg/m³。

★12.床下组合柜中的衣柜:衣柜:衣柜高度≥1700mm*600mm*600mm,柜体采用≥0.6 mm厚,门板采用≥0.7mm 冷轧钢板冲压成型,采用单开外挂门设计,缓冲液压铰链,外挂锁,挂衣杆,采用≥30*15*0.8mm椭圆形航空铝材。后背板冲有通风孔。全部金属采用优质环保产品环氧聚酯塑粉,经酸洗磷化后静电喷塑,喷塑涂层厚度70~80μm, 喷塑外膜的表面光滑平,无明显刺激性气味,成品表面手触摸光滑无毛刺,无漏喷及留痕,具有耐腐蚀、防水抗老化等性能。
★13.床下组合柜中的书桌架:规格:≥1350mm*600mm*950mm,桌面距地面高度为 ≥750mm,书架高度≥950mm,基材采用钢木结构,书架立板采用≥18mm厚,其余采用≥25mm三聚氰胺板(甲醛释放量≤0.124mg/m³),桌面后方安装≥ 60mm 高挡水线,有效防止物品向后滑落。桌面下方配有1根≥30*20*1.2mm钢梁,防止桌面变形。

★14.桌下柜:桌面下设计有一个单门储物柜,其整体尺寸为:≥400mm*400mm*725mm;整体基材采用全钢结构,背板采用≥ 0.6mm,其余全部采用 ≥0.7mm 冷轧钢板冲压成型。

★15.防潮柜脚:ABS材质,消音耐磨垫。
★16.PVC封边条:采用≥1mm优质封边条。
★17.床垫:床垫规格:≥1910mm*830mm*60mm(高),和普通床尺寸配套;材质:填充物为≥20mm厚的海绵和≥40mm厚的100%天然椰棕丝,椰丝长度均匀,压制处理,一次成型。

★18.床立柱两侧,采用≥1.5mm厚角铁与墙面之间膨胀螺丝固定连接。
001-3 椅子:2221把、国产。
★1.成品规格:≥360mm*360mm*420/700mm(长360mm×宽360mm×高420/总高700mm)
★2.椅子腿为:≥φ22mm*1.5mm冷轧钢管,椅子腿横撑杆≥φ18mm*1.5mm冷轧钢管,经数控弯曲,焊接而成,材料表面光滑易清洁,坚固耐用不变形,耐磨耐腐蚀,抗污染,各钢件表面进行严格涂油、清洗、除绣、磷化、清洗、静电喷涂、热固化等工艺处理,涂层表面光滑平整,无流挂、起粒、皱皮、剥落、伤痕等缺陷,喷涂无死角,凡触及人体和存放物体的部分无毛刺、锐角、突出物和棱角现象,颜色可选,与地面接触配有优质 PP 塑料静音内塞。
★3.座板及背板分体式,座板规格≥360mm*360mm,采用 ≥10mm 实木多层板。靠背规格:≥360mm*180mm采用 ≥110mm 实木多层板。实木多层板甲醛释放量≤0.124mg/m³。

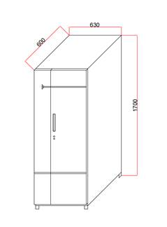
001-4 更衣柜:6套、国产。
更衣柜,图纸如下:

参数:
★1.床下组合柜中的衣柜:衣柜尺寸 ≥630mm*600mm*1700mm,柜体采用≥0.6 mm厚,门板采用≥0.7mm 冷轧钢板冲压成型,采用单开外挂门设计,缓冲液压铰链,外挂锁,挂衣杆采用≥30*15*0.8mm椭圆形航空铝材。后背板冲有通风孔。含一层可调节隔板。
★2.全部金属采用优质环保产品环氧聚酯塑粉,经酸洗磷化后静电喷塑,喷塑涂层厚度70~80μm, 喷塑外膜的表面光滑平,环保等级达到了成品表面手触摸光滑无毛刺,无漏喷及留痕,具有耐腐蚀、防水抗老化等性能。
001-5 大爬梯:12套、国产。
大爬梯,图纸如下:

参数:
★1.尺寸≥350*50*1850mm
★2.主体材质主要采用≥50*30*1.2mm冷轧方管,挂钩为≥3mm厚钢板,所有钢件焊接均采用二氧化碳气体保护焊接,无任何焊接缺陷,焊口光滑平整,金属表面采用抛丸清理机清理表面和强化处理,然后采用高压静电喷塑处理,附着力达到国家标准。
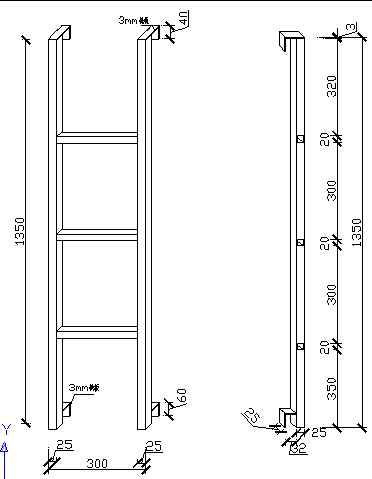
001-6 小爬梯:9套、国产。
小爬梯,图纸如下

参数:
★1.尺寸≥300*25*1350mm
★2.主体材质主要采用≥25*25*1.5mm及≥20*20*1.5mm冷轧方管,挂钩为≥3mm厚钢板,所有钢件焊接均采用二氧化碳气体保护焊接,无任何焊接缺陷,焊口光滑平整,金属表面采用抛丸清理机清理表面和强化处理,然后采用高压静电喷塑处理,附着力达到国家标准。
001-7 铁书柜:20套、国产。
铁书柜,图纸如下

参数:
★1.尺寸≥1200*300+≥400*1500mm,结构:三层书架+三门鞋柜
★2.材质说明:
①三层书架:采用裸板≥0.7mm厚国产优质冷扎钢板,经冲压、折弯、焊接成型。表面经酸洗、磷化、除锈处理后,高压静电喷涂坏氧树脂粉沫,不脱落,耐腐蚀
②三门鞋柜:选用优质冷轧钢板,裸板厚度≥0.7mm,每门为一个独立空间,每个独立空间带一层可调隔板,每门各带一把锁,钥匙为可折叠式透明色,拉手采用一体冲压成型的钢制拉手,无螺丝卡接式工艺,柜门与柜体接触部分做静音处理,自动化静电粉末喷涂。
★3.工艺:
①采用激光焊接制作,要求焊道均匀,无假焊、漏焊、夹渣等现象。
②金属钢板部分采用酸洗磷化处理、静电喷涂;表面经物理除油、除锈后静电喷涂,表面光滑,无气泡,色泽一致。
001-8 书桌:55套、国产。
书桌,图纸如下:

参数:
★1.规格:≥长1400mm*宽600*高750mm
★2.结构:钢制架体+桌面
★3.材质说明:
①钢制架体:采用冷轧方管,≥40*40mm方管,壁厚≥1.2mm,激光精准切割,自动化静电粉末喷涂(颜色可选)直角腿,底部可调节垫脚,坚固耐用,漆面光滑不脱落
②桌面基材:采用E1级环保原木刨花板,厚度≥25mm;经耐酸碱,防虫、防腐等处理;面贴: 优质三聚氰胺浸渍饰面,耐刮、耐磨、耐腐蚀、耐高温;封边条:采用优质厚PVC封边条,达到国标环保要求。
★4.采用优质五金配件
合同履行期限:合同签订后采购方通知具备进场安装条件之日起15日内安装全部结束达到使用标准。
需落实的政府采购政策内容:小微企业/监狱企业/残疾人福利性单位/节能产品、环境标志产品/列入《创新产品和服务目录》内的产品、服务政府采购政策相关规定等。
本项目(是/否)接受联合体投标:否。
二、供应商的资格要求:
1.满足《中华人民共和国政府采购法》第二十二条规定;
2.落实政府采购政策需满足的资格要求:本项目属于专门面向中小企业采购的项目;
3.本项目的特定资格要求:无;
三、政府采购供应商入库须知
参加辽宁省政府采购活动的供应商未进入辽宁省政府采购供应商库的,请详阅辽宁政府采购网 “首页—政策法规”中公布的“政府采购供应商入库”的相关规定,及时办理入库登记手续。填写单位名称、统一社会信用代码和联系人等简要信息,由系统自动开通账号后,即可参与政府采购活动。具体规定详见《关于进一步优化辽宁省政府采购供应商入库程序的通知》(辽财采函〔2020〕198号)。
四、获取招标文件
时间:2024年7月17日17时00分至2024年7月25日00时00分(北京时间,法定节假日除外)
地点:辽宁政府采购网
方式:线上
售价:免费
五、提交投标文件截止时间、开标时间和地点
时间:2024年8月8日09点30分(北京时间)
地点:辽宁承明招投标有限公司(沈阳市皇姑区黄河南大街106号丽阳商务大厦A座16层1602室)
六、公告期限
自本公告发布之日起5个工作日。
七、质疑与投诉
供应商认为自己的权益受到损害的,可以在知道或者应知其权益受到损害之日起七个工作日内,向采购代理机构或采购人提出质疑。
1、接收质疑函方式:线上或书面纸质质疑函
2、质疑函内容、格式:应符合《政府采购质疑和投诉办法》相关规定和财政部制定的《政府采购质疑函范本》格式,详见辽宁政府采购网。
质疑供应商对采购人、采购代理机构的答复不满意,或者采购人、采购代理机构未在规定时间内作出答复的,可以在答复期满后15个工作日内向本级财政部门提起投诉。
八、其他补充事宜
1.本项目采用全流程电子招投标,参与本项目的投标人须自行办理好CA锁,投标人除在电子评审系统上传投标文件外,应在提交投标文件截止时间前提交可加密备份文件,并承诺备份文件与电子评审系统中上传的投标文件内容、格式一致,备系统突发故障使用。投标人仅提交备份文件或仅提交电子投标文件的,投标无效。详见辽宁政府采购网《关于完善政府采购电子评审业务流程等有关事项的通知》辽财采函{2021}363号。2.投标人自行准备电子设备确保能够自行报价及解密。3.电子投标文件在辽宁政府采购网线上提交,加密备份文件以邮件形式于提交投标文件截止时间前发送至邮箱liaoningshangyu@126.com,邮件需注明项目名称、项目编号、供应商名称、联系人及手机号码,以收到邮件显示的时间为准,逾期发送的加密备份文件将按投标无效处理。
九、对本次招标提出询问,请按以下方式联系。
1.采购人信息
名称:开云官方网页版
地址:辽宁省鞍山市千山中路185号
联系方式:0412-5928125
2.采购代理机构信息
名称:辽宁承明招投标有限公司
地址:沈阳市皇姑区黄河南大街106号丽阳商务大厦A座16层1602室
联系方式:024-86136767
邮箱地址:liaoningshangyu@126.com
开户行:光大银行沈阳皇姑支行
账户名称:辽宁承明招投标有限公司
账号:7581018800024251300001
3.项目联系方式
项目联系人:郭晓川、刘娟娟、刘金霞、孙少伟
电话:024-86136767